Your cart
There are no more items in your cart
Elevators and automats
MINI KM3000 SPRING LIFTER
BLOCK LIFT KM3010
Description
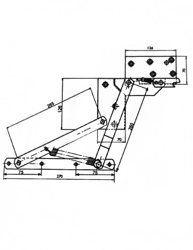
BLOCK LIFT KM3010
DIMENSIONS
2 x Sheet metal: 70 x 126 mm, distance between holes 35 and 50 mm
Crossbar: 270 x 27 mm, distance between holes: 75 mm
Arms: 230 x 25 mm and 270 x 27 mm
Spring: 160 mm (whole), 127 mm (spiral)
Small spring: 40 mm (whole), 20 mm (spiral)
Material: metal
Color: powder black
Product Details
Product reviews
16 other products in the same category:
Customers who bought this product also bought:
The site uses cookies
to provide services in accordance
with the Privacy Policy.
